打开
新闻中心 | 桂林

投资超1.5万亿元!涉及桂林!这条高速将全线为双向8车道

桂林晚报7084

  11月12日,广西壮族自治区人民政府门户网站发布《广西综合交通运输发展“十四五”规划》(以下简称《规划》),广西综合交通“十四五”时期建设投资规模计划超过1.5万亿元。到2025年,建成“全国前列、西部领先”的“交通大省”。

  

 

  建成全国前列的“交通大省”

  《规划》明确,到2025年,广西要建成“全国前列、西部领先”的“交通大省”。着力建设“两通道、两枢纽、三网络、三体系”,实现“门户枢纽国际化、市通高铁便捷化、县通高速网络化、民用机场聚集化、内河航道高等化、轨道交通网格化、进村入户普及化、综合交通一体化”,人民对交通满意度显著提升,交通强国建设试点任务圆满完成。

  到2035年,基本建成人民满意、保障有力、国内先进的交通强区。现代化综合交通运输体系基本形成,广西综合立体交通网基本建成,“3213出行交通圈”和“123快货物流圈”基本形成。

  

 

  

 

  

 

  

 

  围绕“十四五”时期发展目标及重点建设任务安排,规划广西综合交通“十四五”时期建设投资规模超过1.5万亿元,比“十三五”时期投资额6000亿元增长约150%。

  其中:铁路方面(含城市轨道交通),预计完成投资约3000亿元;公路方面,预计完成投资超过1.1万亿元;水运方面,预计完成投资约1000亿元;民航方面,预计完成投资约200亿元;邮政方面,预计完成投资约60亿元。

  部署六项重点任务

  围绕《规划》提出的着力建设“两通道、两枢纽、三网络、三体系”,广西部署了畅通综合运输大通道、打造一体化国际门户枢纽、构建高质量综合立体交通网、强化高品质客货运输服务、提升交通可持续发展能力和构筑现代化行业治理体系六项重点任务。

  

 

  广西对接粤港澳大湾区将新增4条铁路通道

  《规划》明确,南向北联开放发展,打造高水平开放西部陆海新通道。加快推进通道内贵阳至南宁高速铁路、南宁经桂林至衡阳新高铁、黄桶至百色铁路、贵阳经南宁至北海高速公路等一批重大项目建设。规划建设西部陆海新通道(平陆)运河和湘桂运河。

  到2025年,基本建成西部陆海新通道,形成出海出边铁路通道9条、高速公路通道23条,实现西南、中南地区多通道便捷出海出边,支撑广西成为“一带一路”有机衔接的重要门户、国内国际双循环相互促进的交会点。

  东融西合协同发展,构筑全面对接粤港澳大湾区的大通道。重点推进南宁经玉林经岑溪至深圳高速铁路、柳州经梧州至广州铁路、南宁经玉林至珠海高速公路、南宁至梧州3000吨级航道等一批重大项目建设;建设云桂沿边铁路、凭祥经防城港至铁山港高速公路等项目。广西对接粤港澳大湾区将新增4条形成8条铁路通道,新增7条形成14条高速公路通道,西江航运干线实现3000吨级航道直通粤港澳大湾区。

  到2025年,区内综合交通网络基本完善,与粤港澳大湾区深度对接,与周边省份互联互通,形成出省省际铁路通道19条、高速公路通道37条。

  

 

  开工建设南宁市郊铁路机场线和武鸣线

  广西打造一体化国际门户枢纽,南宁将在其中发挥重要作用。《规划》提出,到2025年,建设以广西北部湾国际门户枢纽港、南宁区域性国际综合交通枢纽为核心的多层次综合交通枢纽体系。

  广西将进一步提升南宁交通首位度。巩固南宁全国性综合交通枢纽功能,助力推动将南宁建成面向东盟开放合作的区域性国际大都市、“一带一路”有机衔接的重要门户枢纽城市、广西北部湾城市群与粤港澳大湾区融合发展的核心城市。加快建设南宁国家物流枢纽承载城市和区域性国际航空枢纽中心,完善南宁国际空港综合交通枢纽功能,优化以南宁为枢纽的高速铁路网综合布局,打造连通中西部地区、辐射东盟的区域性国际综合交通枢纽,将南宁建设成为区域性国际邮政快递枢纽,全面提升南宁作为重要门户枢纽城市的综合运输服务能力。

  打造南宁轨道都市圈。建成以南宁为中心,辐射周边省份的便捷高速铁路网、城际铁路网。“十四五”时期,建成南宁至玉林城际铁路、南宁经崇左至凭祥城际铁路。大力发展南宁都市圈市域(郊)铁路,实现都市圈内中心城市轨道交通向主要城镇延伸。开工建设南宁市郊铁路机场线和武鸣线,加密中心城市轨道交通网。建设南宁铁路枢纽五象站、南宁站改扩建,南玉铁路五合至五象联络线等项目。

  实现高速公路桂林至北海段全线双向8车道

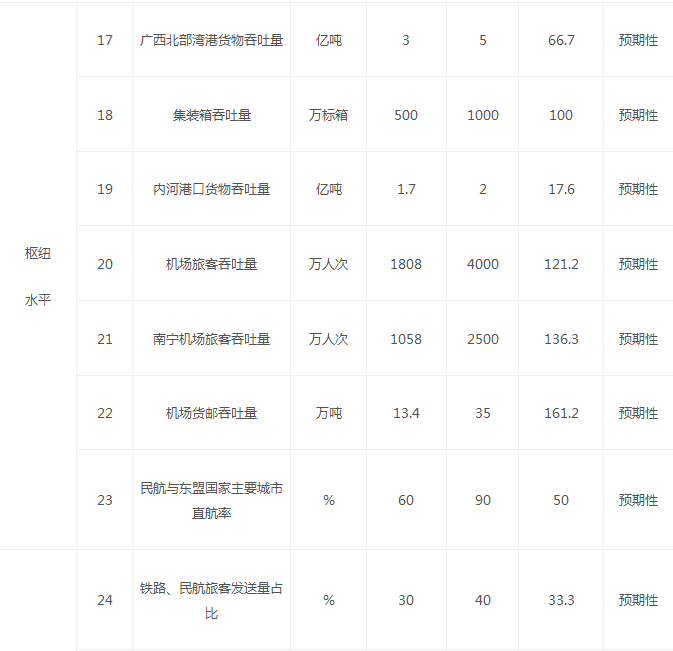
  《规划》提出,到2025年,构建发达的快速网、高效的干线网、广泛的基础网,综合交通网总里程突破15万公里。铁路营业总里程达到7000公里,其中高铁动车运营总里程达到3000公里。公路总里程达到14万公里,其中高速公路建成里程达到1.2万公里以上,100%普通国道达到二级及以上等级,80%普通省道达到二级及以上等级,100%普通省道达到三级及以上等级;100%乡镇通三级及以上公路,90%以上自然村(屯)通硬化路。

  高铁通道建设方面,实现市市通高铁。加快建设南宁经玉林经岑溪至深圳高速铁路广西段,新开工合浦至湛江高速铁路,规划建设南宁经桂林至衡阳新高铁等项目,构建以南宁为中心连接衡阳、深圳、重庆等周边城市的高标准高铁客运通道。规划建设贺州至梧州城际铁路、梧州至玉林(岑溪)城际铁路、玉林至北海(合浦)城际铁路等项目,形成广西北部湾城市群城际铁路网。至“十四五”期末,实现高铁动车运营总里程达到3000公里。

  

 

  完善高速公路网络方面,实现县县通高速公路。以出省出海出边高速公路大通道建设为重点,重点推进上思至防城港、隆安至硕龙等出边高速公路通道建设。实施高速公路拥堵路段扩容改造,推进G75兰州至海口高速公路广西钦州至北海段改扩建工程、G72泉州至南宁高速公路广西桂林至全州黄沙河段等项目改扩建,实现国家高速公路桂林至北海段全线为双向8车道。“十四五”期末,新建成高速公路超过5000公里,高速公路总里程1.2万公里以上,高速公路规模位于国内前列。

  

 

  打造具有竞争力的区域机场布局,形成“两干九支”民用机场体系。加快建设广西北部湾区域性国际航空中心,围绕做强面向东盟的南宁门户枢纽机场。加快实施南宁机场改扩建工程,建成南宁机场第二跑道、南宁国际空港综合交通枢纽工程。开工建设南宁机场T3航站楼,实现南宁机场年旅客吞吐量达到2500万人次。至“十四五”期末,全区机场旅客吞吐量达到4000万人次,建成面向东盟的南宁门户枢纽机场。

  

 

  3小时通达周边省会和东盟国家首都

  “十四五”时期,广西交通运输进入全面开放、提质增效的阶段,将构筑民生为本的高品质运输服务体系、智慧绿色平安交通体系、规范高效行业治理体系。智慧化交通发展、新基建卓见成效,建成高速公路充电桩超过3000个;绿色交通效果显著,大中城市绿色出行比例达到70%。

  客运服务体系方面,初步形成“321出行交通圈”,即3小时通达周边省会城市和东盟国家首都城市,2小时通达区内城市,1小时通达北部湾城市群。广西将构建以高速铁路和城际铁路为主体的大容量快速客运系统,逐步减少运营距离800公里以上道路客运班线。提高城乡客运网络的覆盖广度、深度和服务水平,确保人民群众“行有所乘”。积极拓展“运游一体”客运服务,支持传统村落、休闲农业聚集村、休闲农园、特色景观旅游名村、“农家乐”等乡村特色旅游区域开通乡村旅游客运线路。“十四五”期末,实现城区常住人口300万以上城市建成区公共交通机动化出行分担率达到60%。

  货运服务方面强化更“高效”,构建便捷高效的综合交通货运网络,初步形成“123快货物流圈”,即国内1天送达、东盟国家2天送达、全球主要城市3天送达。到2025年建成农村邮政快递站点突破5000个,实现村村通快递。鼓励南宁、桂林等有条件的城市积极创建城市绿色货运配送示范工程。实施“快递出海”工程,引导邮政快递企业在南宁设立面向东盟的跨境寄递总部。至“十四五”期末,西部陆海新通道多式联运示范效应显著,实现综合运输成本降低约20%,物流业整体收益年均增长超过10%。

  在构筑现代化行业治理体系方面,广西将深入开展“互联网+政务服务”,建设智能审批系统。“十四五”期末,全区各级交通运输部门制发的各类证明材料100%实现电子化,申请政务服务事项100%实现“一网通办”和“不见面”办事。

  来源丨广西日报

热门评论
相关推荐
热门新闻
数据加载中...
返回顶部
取消
我要说两句...